产品特点
NBKVHJ气动薄膜角型调节阀采用顶部导向结构,实现对压力、流量、温度、液位等参数的调节。具有体积小、重量轻、泄漏量少、流路简单、阻力小,使用于高压差、高粘度、含有悬浮物和颗粒状物质液体的调节,可以避免结焦,堵塞,也便于自洁和水清洗,角型阀一般使用于底进侧出的场合,因为这样可使调节有较好的稳定性。
技术参数
阀体部分
阀体型式:铸造角型阀
公称通径:DN25 、32 、40 、50 、65 、80 、100 、125、150、200
公称压力:PN 1.6、2.5、4.0、6.4、10Mpa
ANSI 150、300、 600Lb
JIS 10K、20K、30K
连接方式:法兰: FF、RF、RTJ、等
焊接:SW、BW
法 兰 距:符合IEC 534
阀盖形式:标准型、加长型(散热、低温、波纹管密封)
填 料:V型聚四氟乙烯、柔性石墨填料等
密 封 垫:金属夹石墨密封垫
执行机构:气动:薄膜多弹簧执行机构气开式、气关式 、双作用气缸式执行机构
电动:普通型381L PSL、防爆型381L系列
定位器:电气阀门定位器、智能型数字定位器
附 件:电磁阀、阀位反馈器、手操机构、保位阀、空气过滤减压器等
阀内部件
阀芯型式:单座、套筒型阀芯
流量特性:等百分比、线性 、快开
内件材质:标准材质组合及使用温度、压力范围请参阅附录
阀体材质:WCB、WC9、CF8、CF8M等
阀盖材质:WCB、WC9、CF8、CF8M
阀芯材质:304、304+STL/PTFE、316、316+STL/PTFE
填料材质:“V”型PTFE、 柔性石墨、波纹管
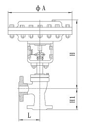
外形尺寸

| 公称通径 DN(mm) | L(mm) | H1( mm) | H(mm) | ØA |
| 1.6、2.5(MPa) | 常温 | 中温 |
| 20 | 100 | 100 | 349 | 444 | 285 |
| 25 | 115 | 115 | 350 | 445 | 285 |
| 32 | 130 | 130 | 358 | 458 | 285 |
| 40 | 130 | 130 | 378 | 478 | 285 |
| 50 | 150 | 150 | 393 | 493 | 285 |
| 65 | 170 | 170 | 494 | 594 | 360 |
| 80 | 190 | 190 | 503 | 628 | 360 |
| 100 | 215 | 215 | 521 | 646 | 360 |
| 125 | 250 | 250 | 634 | 759 | 360 |
| 150 | 275 | 275 | 696 | 846 | 470 |
| 200 | 325 | 325 | 715 | 915 | 470 |