首页 关于我们 产品展示 用户现场 新闻资讯 下载中心 质量中心 联系我们
 
微信扫一扫

微信扫一扫

销售热线
021- 51082626
周一至周六8:00~18:00
技术支持
021- 51028085
24小时节假日不休
NBKVGUQ气动高真空球阀

产品概述

NBKVGUQ型系列气动真空(压力)球阀是适用于真空系统中接通或切断管路中的介质流。该阀以压缩空气为动力,通过控制气动元件来改变气路方向,推动活塞齿条、齿轮的机械传动,以角行程输出扭矩来驱动球阀作启闭运动。阀门为直通式,靠球面密封,因而既能用在真空状态下,也能在低压状态下使用,并可任意位置安装。

产品特点

气缸分为双作用和单作用(弹簧复位),可选配反馈信号装置及电气阀门定位器。GUQ气动真空球阀是通过电磁换向阀改变气路方向,控制执行气缸来驱动球阀,达到接通或切断真空(压力)系统管道路中的介质流。适用的工作介质为带酸、碱性的气体或液体,应用于真空、乳制品、酒业、生物工程、食品、制药、饮料、化妆品及化工领域。可选配反馈信号装置及电气阀门定位器。

技术参数


适用范围(Pa)快卸法兰DN10~DN50(KF)2x105 ~1.3x10-5
活套法兰DN10~DN100 16x105~1.3x10-5
阀门漏率(Pa.L/S)≤1.3x10-5
介质温度(℃)标准出厂:-30~+150
特殊指定:-30~+240
气源压力(Mpa)0.4~0.8
法兰标准GB4982:GB/T6070
安装位置任意
电源电压标准出厂:AC220V/50Hz
特殊指定:AC110V;DC24V;DC12V等
信号反馈标准出厂:阀位指示器
特殊指定:微动开关;智能型4~20mA DC
气缸可选标准出厂:双作用式
特殊指定:单作用式(有弹簧返回)可选常开或常闭

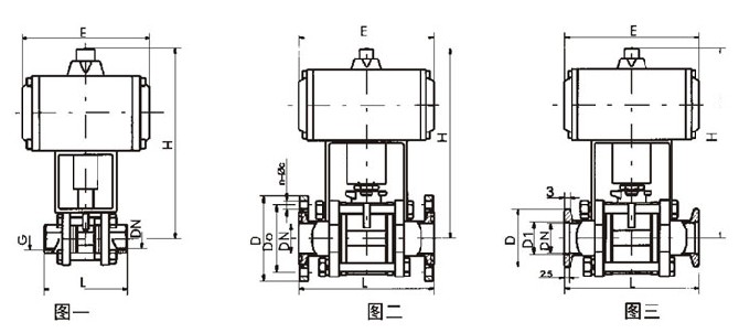
外形尺寸

螺纹连接的外形及连接尺寸(图一)

型号DNGHEL
NBKVGUQ-10(G)101/4"15310468
NBKVGUQ-16(G)161/2"15510472
NBKVGUQ-20(G)203/4"16010482
NBKVGUQ-25(G)251"16314090
NBKVGUQ-32(G)321-1/4"180140112
NBKVGUQ-40(G)401-1/2"186140120
NBKVGUQ-50(G)502"233164145
NBKVGUQ-63(G)632-1/2"272164185
NBKVGUQ-80(G)803"351190210
NBKVGUQ-100(G)1004"370190268

活套法兰连接(GB6070)(图二)

型号DNDDoHELn-φc
NBKVGUQ-10(F)105540153105844-φ6.6
NBKVGUQ-16(F)166045155130844-φ6.6
NBKVGUQ-25(F)2570551631651144-φ6.6
NBKVGUQ-32(F)3290701801651404-φ9
NBKVGUQ-40(F)40100801861901604-φ9
NBKVGUQ-50(F)50110902331901704-φ9
NBKVGUQ-63(F)631301102722501954-φ9
NBKVGUQ-80(F)801451253512502038-φ9
NBKVGUQ-100(F)1001651453702802808-φ9

快卸法兰连接(GB4982)(图三)

型号DND1DHEL
NBKVGUQ-10(KF)1012.23015310484
NBKVGUQ-16(KF)1617.23015510484
NBKVGUQ-25(KF)2526.240163140114
NBKVGUQ-32(KF)3234.255180140140
NBKVGUQ-40(KF)4041.255186140160
NBKVGUQ-50(KF)5052.275233164170