产品概述
NBKVRT968Y系列大压差给水调节阀为300MW和600MW机组起动给水泵(电动给水泵)配套,作为锅炉起动给水调节阀。大容量机组给水量的调正都采用可以调正转速的汽轮机来拖动给水泵,给水管道出口不设给水调节阀,但汽轮机调速有其最低转速,其最低转速下的给水流量不能满足锅炉冷态起动要求,故均设有定速电动给水泵,由于定速给水泵在起动后达到稳定状态时,前后压差很大,冷态起动时,出口压力就是给水泵与锅炉进口之压差,故对电动给水泵出口调节阀技术要求就很高。根据使用特点,采用小孔、多孔式厚壁笼罩,利用阀芯上下移动来改变笼罩小孔的通流截面积来实现给水流量的调节。由于采用小孔多孔笼罩,使得它既是节流元件,又是一只消音器,故该阀门噪声小,耐汽蚀。由于采用了压力平衡式结构,降低了阀门的不平衡力,减少了执行机构的驱动力矩,节约能源,由于该阀门采用方便的装配结构,拆装方便,维修简单。该调节阀适用于125、200、300、600、1000MW机组的给水系统中给水流量的调节。也适用于100MW以下的各类小型机组给水流量的调节。
工作原理
NBKVRT968Y系列大压差给水调节阀是由电动执行机构和大压差调节阀两部份组成。电动调节阀输入是调节器送来的直流电流信号,经伺服放大器放大后来驱动执行机构,产生轴向推力,带动调节阀动作,从而引起介质流量的变化,来调节系统中各类参数。同时执行机构发出一个阀的位置信号供伺服放大器比较,使调节阀始终保持在一个与输入信号相对应的位置上,完成伺服调节任务。
主要技术参数
| 公称通径DN(mm) | 150 | 200 |
| 流量特性 | 近似等百分比 |
| 公称压力PN (MPa) | ≤50 |
| 连接型式 | 焊接 |
| 配用执行机构 | PZD型 |
| 行程L(mm) | 57.6 | 88.2 |
| 最大压差△P(MPa) | ≤42 |
| 额定流量系数Cv | 210 | 365 |
| 工作温度t(℃) | ≤400 |
| 使用介质 | 水 |
注:可配ZKDS型电动执行机构。
主要技术性能指标
| 项 目 | 技 术 性 能 指 标 |
| 基本误差(%) | 不超过±1.5 |
| 回差(%) | ≤1 |
| 死区(%) | ≤3 |
| 泄漏量 | 达到GB/T4213标准Ⅴ级;泄漏等级不低于MSS-SP-61标准。 |
阀门主要材料
| 名 称 | 材 料 |
| 阀体 | WCB 、20CrMo |
| 阀芯 | 2Cr13堆司太莱合金 |
| 阀杆 | 17-4PH |
| 阀座 | 2Cr13堆司太莱合金 |
外形尺寸
| 公称通径DN(mm) | 150 | 200 |
| H (mm) | 651 | 840 |
| H1 (mm) | 248 | 437 |
| L (mm) | 768 | 960 |
| D1 (mm) | 230 | 265 |
| D2 (mm) | 125 | 160 |
注:以上数据仅供参考,可按工况要求设计。
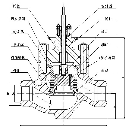
阀门外形图
