一、概述
气动刀型闸阀其闸板具有剪切功能,可刮除密封面上的粘着物,自动清除杂物,不锈钢闸板可防止腐蚀引起的密封泄漏。具有结构简单紧凑、设计合理、轻型节材,密封可靠、操作轻便灵活、体积小、通道流畅、流阻小、重量轻、易安装、易拆卸等优点,可在工作压力1.0MPa-1.6MPa,使用温度-29-538℃情况下正常工作。
刀闸阀适用于矿山电厂的选煤、排灰、排渣、城市的污水处理、食品、卫生、医药等专业管道系统。
二、特点
1、可提升的闸板密封面,可刮除密封面的的粘着物,自动清除杂物。
2、不锈钢闸板可防止腐蚀引起的密封泄漏。
3、整体的不锈钢材质,可防止腐蚀破坏。
4、短结构长度,可节省原料、安装空间,也有效支持管道强度。
5、科学的上密封填料函设计,使上密封安全有效,经久耐用。
6、三角形的支架节省原材料,保证需要的力学性能。
7 阀体上的导向块使闸板正确运动;挤压块保证闸板有效密封。
8、阀体加强筋设计提高阀体强度。
9、不锈钢阀杆经久耐用,双头螺使用启闭更为迅速。
10、可任意选用驱动机构。
11、V型闸板可作为调节阀使用。
三、主要技术数据

2、主要性能规范
型号 | 公称压力 (MPa) | 壳体试验压力(MPa) | 液体密封试验 压力(MPa) | 适用介质 | 适用温度 (℃) |
Z673W-6 | 0.6 | 0.9 | 0.66 | 灰、渣、灰查混合物等 | ≤120 |
Z673F-10 | 1.0 | 1.5 | 1.1 | ≤100 |
Z673H-10 Z673H-10C | 灰渣水混合物 | ≤200 |
≤300 |
Z673X-10 Z673X-10C | 含尘气体、灰水混合物 | ≤100 |
Z673F-16 Z673H-16 Z673H-16C | 1.6 | 2.4 | 1.76 | 灰渣水混合物 | ≤100 |
≤150 |
Z673X-16C | 1.6 | 1.76 | 含尘气体、灰水混合物 | ≤100 |
设计制造采用标准:
阀门设计制造标准:JB/T8691
结构长度标准:GB/T12221.1989
法兰标准:GB/9113-2000
验试验标准:JB/T13927
可以根据用户的需要选择适应不同温度的密封材料。详见下表
阀座密封材料 | 推荐使用温度 ℃ | 阀座密封材料 | 推荐使用温度 ℃ |
名称 | 代号 | 名称 | 代号 |
聚四氟乙烯 | F4 | ≤180 | 高强度石墨 | M | ≤200 |
聚三氟氯乙烯 | F3 | ≤120 | 尼龙 | N | ≤80 |
聚偏氟乙烯 | F2 | ≤100 | 硬质合金 | Y | ≤450 |
聚全氟乙炳烯 | F46 | ≤150 | 金属硬密封 | H | 视所选材质定 |
可溶性聚四氟乙烯 | FA | ≤180 | 天然橡胶 | X | ≤80 |
聚炳烯(聚乙烯) | PP(PE) | ≤100 | 氯丁橡胶 | ≤120 |
聚烯烃 | PO | ≤80 | 丁基橡胶 | ≤150 |
对位聚苯 | PPL | ≤260 | 丁腈橡胶 | ≤120 |
聚氯乙烯 | PVC | ≤55 | 硅橡胶 | ≤200 |
氟橡胶 | FPM | ≤180 | 三元乙丙 | ≤150 |
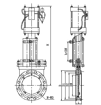
四、主要外形及连接尺寸
PN | DN | L | D | D1 | D2 | H | N-M |
1.0 Mpa | 50 | 43 | 160 | 125 | 100 | 335 | 4-M16 |
65 | 46 | 180 | 145 | 120 | 363 | 4-M16 |
80 | 46 | 195 | 160 | l35 | 395 | 4-M16 |
100 | 52 | 215 | 180 | 155 | 465 | 8-M16 |
125 | 56 | 245 | 210 | 185 | 530 | 8-M16 |
150 | 56 | 280 | 240 | 210 | 630 | 8-M20 |
200 | 60 | 335 | 295 | 265 | 750 | 8-M20 |
250 | 68 | 390 | 350 | 320 | 900 | 12-M20 |
300 | 78 | 440 | 400 | 368 | 1120 | 12-M20 |
350 | 78 | 500 | 460 | 428 | 1260 | 16-M20 |
400 | 102 | 565 | 515 | 482 | 1450 | 16-M22 |
450 | l14 | 615 | 565 | 532 | 1600 | 20-M22 |
500 | 127 | 670 | 620 | 585 | 1800 | 20-M22 |
600 | 154 | 780 | 725 | 685 | 2300 | 20-M27 |
700 | 165 | 895 | 840 | 800 | 2500 | 24-M27 |
800 | 190 | lOl0 | 950 | 898 | 2800 | 24-M30 |
900 | 203 | ll10 | 1050 | 1005 | 3100 | 28-M30 |
1000 | 216 | 1220 | 1160 | 1l15 | 3400 | 28-M30 |
1200 | 254 | 1450 | 1380 | 1325 | 3600 | 32-M36 |
1.6 MPa | 50 | 48 | 160 | 125 | lOO | 335 | 4-M16 |
65 | 48 | 185 | 145 | 120 | 363 | 4-M16 |
80 | 5l | 200 | 160 | 135 | 395 | 8-M16 |
100 | 51 | 220 | 180 | 155 | 465 | 8-M16 |
125 | 57 | 250 | 210 | 185 | 530 | 8-M16 |
150 | 57 | 285 | 240 | 210 | 630 | 8-M20 |
200 | 70 | 340 | 295 | 265 | 750 | 12-M20 |
250 | 70 | 405 | 355 | 320 | 900 | 12-M22 |
300 | 76 | 460 | 410 | 375 | 1120 | 12-M22 |
350 | 76 | 520 | 470 | 435 | 1260 | 16-M22 |
400 | 89 | 580 | 525 | 485 | 1450 | 16-M27 |
450 | 89 | 640 | 585 | 545 | 1600 | 20-M27 |
500 | l14 | 715 | 650 | 609 | 1800 | 20-M30 |
600 | 114 | 840 | 770 | 720 | 2300 | 20-M36 |
700 | 127 | 910 | 840 | 788 | 2500 | 24-M36 |
800 | 127 | 1025 | 950 | 898 | 2800 | 24-M36 |
900 | 154 | 1125 | 1050 | 998 | 3100 | 28-M36 |
1000 | 165 | 1255 | 1170 | lll0 | 3400 | 28-M42 |
1200 | 190 | 1485 | 1390 | 1325 | 3600 | 32-M48 |
五、使用和维护及故障排除方法
1、气动刀型闸阀的安装使用
(1)安装前须检查阀门腔内和密封面等部位,不允许有污物或砂粒附着;本类阀门在管道中一般应当水平安装。
(2)各连接部位螺栓,要求均匀拧紧;
(3)检查填料部位要求压紧,既保证填料的密封性,也要保证闸板开启灵活;
(4)用户在安装阀门前,必须校对阀门型号,连接尺寸及注意介质流向,保证与阀门要求一致性;
(5)用户在安装阀门时,必须预留阀门驱动的必要空间;
(6)驱动装置的接线须按线路图进行;
(7)气动刀型闸阀必须定期保养,不得随意碰撞及挤压,以免影响密封。
2、保养与维修
(1)要经常检查管道有没有铁锈、焊渣、脏物、尘士。
(2)电源绝对不能有故障。
(3)定期检修。
(4)长期停放时,接口都要用塑料塞堵上。
(5)当调节阀在使用中不能满足操作要求,或者经过一段长时期的运行为了预防事故发生而作定期检查时,先将阀从管线卸下,清洗、拆卸、更换元件,重新组装测试后重新安装。
3、故障与维修方法
故障 | 位置 | 原因 | 措施 |
泄漏 | 上漏 | 横向密封 | 预应力太小,工作压力大于调整 | 重调横向密封的预应力 |
松开调整钉背线2-3,在两侧均匀拧紧调整螺钉,利用感觉小心拧至密封,但不得拧的过紧重 |
重调横向密封的预应力 |
更换四氟条 |
使阀门牌开启位置,除去污垢屉后清洗闸板,薄薄地涂上一层油脂,开启几次后按1调整横向密封的预应力 |
长期使用后四氟条磨损 | 拆卸阀门,清洗闸板,装入新的横向密封 |
外漏 | 闸板前面 | 阀体上螺栓松动 | 在安装状态拧紧阀体上的螺栓,一般情况下拧紧螺纹一圈即可 |
阀体四周 | 阀体螺栓松动 | 首先将法兰与法兰间的连接螺栓拧紧,然后拧紧阀体上的螺圈 |
更换新的U型密封圈 |
内漏 | 边水孔周边 | 密封圈损坏,闸板上有污垢屉。 | 处理方法4、7或8种 |
操作力增大 | 横向密封 | | 重新调整横向密封的预应力,使闸板位于两片阀体之间距离两侧阀体的闸板均匀 |
横向密封预应力太大(这种现象在工作压力较低时更为明显)。 | 松开横向密封的背母与调整螺丝,使闸板上下移动几次,然后按重调横向密封预紧力的方法调整 |
闸板 | 闸板一侧或两侧表面有污垢屉。 | 按4或5措施处理 |
阀杆与阀杆螺母 | 干磨擦行动 | 阀杆螺纹图油,并通过油咀嘴注油 |
操作位置 | | 松开横向密封,一边升降阀门,一边用橡胶布头或类似工具轻轻叩打阀门 |
松开阀体螺栓 |
清洗闸板,涂油并按第(13)种处理 |
拆下阀门,清洗零件,更换已损坏零件 |
横向密封 | 拨动阀在正常4-5公斤压力难开难关时,先松开横向密封的背线和高速螺丝,在将气压提至7-8公斤,升降几次最后按相应方法调整横向密封 |
六、运输与贮存
1、储运前检查各种标志是否完整、齐全、清晰、包装箱是否整齐牢固,无破损伤裂,最后检查钉箱包扎的可靠性和安全性。
2、运输时应轻装轻卸,严禁抛滑和撞击。
七、装箱与检查
1、产品运输到达用户后打开包装箱,小心搬运,打开即可安装使用。
2、包装箱内应有产品使用说明书、产品合格证。
八、阀门订货需知
1.产品型号与名称;
2.公称通径DN(mm);
3.公称压力;
4.连接方式及标准;
5.阀体材质;
6.密封材质;
7.介质种类和温度范围;
8.使用压力;
9.气源压力及控制方式;
10.其它特殊要求;
11.建议用户安装空气过滤器和减压阀