一、概述
气动V型球阀是一种直角回转式调节阀,它由GT系列气动活塞式执行机构(单、双作用)和V形球阀二部分组成。与电磁阀和电气阀门定位器配套使用,输入 4~20ma DC信号及0.5~0.7Mpa气源即可控制运转,实现对压力、流量、温度、液位等参数的调节。它是以压缩空气为动力,阀杆带动阀芯在阀体内转动90°,可以实现全开-全闭的动作。该产品按其密封性能分为金属密封与软密封。由于气动V型调节球阀为直角回转结构,当阀芯相对于阀座旋转时具有较强的剪切作用,尤其适用于带有纤维和微小颗粒介质的调节控制。同时还具有结构紧凑、体积精小、运行可靠、密封性好、维修容易、安装方便、适应性强等特点。可广泛应用于石油,化工、轻工、电力、制药、造纸、冶金等工业自动控制系统中,作远距离集中控制或就地控制。
二、
特点1、由于V型球阀流路简单、流阻较小,因而流通能力较大。
2、V型球阀阀芯上具有近似等百分比流量特性的V型和具有近似线性流量特性的U型两种缺口形式,因而无须通过定位器调整,即能实现不同流量特性的流量控制。
3、可调比可达到300∶1远大于直通单、双座调节阀。
4、具有较高的密封等级:软密封结构的泄漏等级为GB/T4213 VI级; 硬密封结构的泄漏等级为GB/T4213 IV级。
5、正、反作用方式变换较为方便,只需将阀芯初始位置旋转90O,即能实现作用方式的转换。
6、结构简单、维护方便。体积较小、易于安装。
三、结构原理
1、结构
气动V型球阀由气动活塞式执行机构和V形球阀二部分组成。
气动活塞式执行机构以分为单作用和双作用二种。密封形式为软密封和硬密封二种。
2、执行机构结构与动作原理(详见GT系列气动执行器说明书)
四、主要技术数据
1、阀体
公称通径:25~400mm(可制最小额定流量系数CV值:1.5)
公称压力:PN1.6,2.5, 4.0,6.4Mpa。
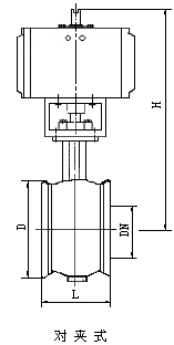
连接形式:对夹式(管道法兰):JB78-59 JB79-59 法兰式:JB79-59
主要材质:304、316、316L、ZG251 ZG1Cr18Ni9Ti,ZG1Cr18Ni12mo2Ti,衬四氟乙烯CF8,CF8m
温度范围:常温-20℃~180℃,中温-40℃~350℃
填料:V型聚四氟乙烯填料,柔性石墨。
2、阀内组件
阀芯型式:O型阀芯。
流量特性:快开特性。
材料:Icr18Ni9TI 0017Ni12Mo2Ti。
阀座材料:聚四氟乙烯(PTFE),特制PPL,金属阀座。
可调比:350:1
3、执行机构
气缸型式:单缸式或双缸式。气缸工作压力:0.4~0.7Mpa。
气缸开关时间:双作用式1~5秒 气缸空气耗量:1~131L(HES)
电磁阀电源:220V AC,24V AC,24V DC
行程:01~90O
环境温度:—20℃~90℃(特殊需要:—40℃~150℃)
性能:(带定位器)
基本误差:2% 回 差:2% 死 区:0.6%
泄漏量:软密封:GB / T4213 VI级;硬密封:GB / T4213 IV级
密封型式:可动不锈钢硬密封座
附件选用:进口、国产电—气阀门定位器
4、流量系数Kv
公称通径 DN | 25 | 32 | 40 | 50 | 65 | 80 | 100 | 125 | 150 | 200 | 250 | 300 |
额定流量系数Kv | 25 | 40 | 63 | 100 | 160 | 250 | 350 | 680 | 990 | 1600 | 2500 | 4000 |
允许压差 △P | 小于公称压力 |
5、固有流量特性:

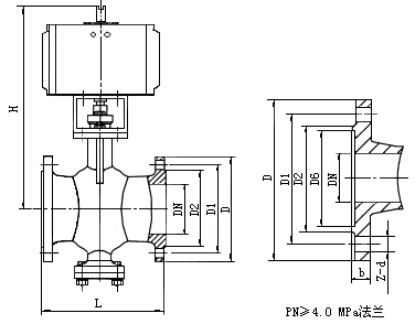
五、外形及连接尺寸


公称 压力 (Mpa) | 公称 通径 (mm) | 尺寸(mm) |
L | 对夹式 | 法兰式 | H |
D | D | D1 | D2 | D6 | b | Z-d |
1.6 | 25 | 102 | 64 | 115 | 85 | 65 | | 14 | 4-14 | 233 |
32 | 114 | 82 | 145/150 | 110 | 85/84 | | 16 | 4-18 | 280 |
40 | 114 | 82 | 145/150 | 110 | 85/84 | | 16 | 4-18 | 280 |
50 | 124 | 100 | 160/165 | 125 | 100/99 | | 16 | 4-18 | 362 |
65 | 143 | 118 | 180/185 | 145 | 120/118 | | 18 | 4-18 | 377 |
80 | 165 | 130 | 195/200 | 160 | 135/132 | | 20 | 8-18 | 410 |
100 | 194 | 155 | 215/220 | 180 | 155/156 | | 20 | 8-18 | 423 |
125 | 213 | 185 | 245/250 | 210 | 185/184 | | 22 | 8-18 | 436 |
150 | 229 | 216 | 280/285 | 240 | 210/211 | | 24 | 8-23 | 653 |
200 | 243 | 264 | 335/340 | 295 | 265/266 | | 26 | 12-23 | 703 |
250 | 297 | 328 | 405 | 355 | 320/319 | | 30 | 12-25 | 787 |
300 | 338 | 373 | 460 | 410 | 375/370 | | 30 | 12-25 | 827 |
2.5 | 25 | 102 | 64 | 115 | 85 | 65 | | 16 | 4-14 | 233 |
32 | 114 | 82 | 145/150 | 110 | 85/84 | | 18 | 4-18 | 280 |
40 | 114 | 82 | 145/150 | 110 | 85/84 | | 18 | 4-18 | 280 |
50 | 124 | 100 | 160/165 | 125 | 100/99 | | 20 | 4-18 | 362 |
65 | 143 | 118 | 180/185 | 145 | 120/118 | | 22 | 8-18 | 377 |
80 | 165 | 130 | 195/200 | 160 | 135/132 | | 22 | 8-18 | 410 |
100 | 194 | 155 | 230/235 | 190 | 160/156 | | 24 | 8-23 | 423 |
125 | 213 | 185 | 270 | 220 | 188/184 | | 28 | 8-25 | 436 |
150 | 229 | 216 | 300 | 250 | 218/211 | | 30 | 8-25 | 653 |
200 | 243 | 264 | 360 | 310 | 278/274 | | 34 | 12-25 | 703 |
250 | 297 | 328 | 425 | 370 | 332/330 | | 36 | 12-30 | 787 |
300 | 338 | 373 | 485 | 430 | 390/389 | | 40 | 16 -30 | 827 |
| | | | | | | | | | |
公称 压力 (Mpa) | 公称 通径 (mm) | 尺 寸(mm) |
L | 对夹式 | 法兰式 | H |
D | D | D1 | D2 | D6 | b | Z-d |
2.5 | 25 | 102 | 68 | 115 | 85 | 65 | 58 | 16 | 4-14 | 262 |
32 | 114 | 88 | 145/150 | 110 | 85/84 | 76 | 18 | 4-18 | 280 |
40 | 114 | 88 | 145/150 | 110 | 85/84 | 76 | 18 | 4-18 | 280 |
50 | 124 | 102 | 160/165 | 125 | 100/99 | 88 | 20 | 4-18 | 362 |
65 | 143 | 122 | 180/185 | 145 | 120/118 | 110 | 22 | 8-18 | 400 |
80 | 165 | 138 | 195/200 | 160 | 135/132 | 121 | 22 | 8-18 | 603 |
100 | 194 | 162 | 230/235 | 190 | 160/156 | 150 | 24 | 8-23 | 616 |
125 | 213 | 188 | 270 | 220 | 188/184 | 176 | 28 | 8-25 | 643 |
150 | 229 | 218 | 300 | 250 | 218/211 | 204 | 30 | 8-25 | 685 |
200 | 243 | 285 | 375 | 320 | 282/284 | 260 | 38 | 12-30 | 747 |
250 | 297 | 345 | 445/450 | 385 | 345 | 313 | 42 | 12-34 | 933 |
300 | 338 | 410 | 510/515 | 450 | 408/409 | 364 | 46 | 16-34 | 980 |
6.4 | 25 | 102 | 68 | 135/140 | 100 | 78 | 58 | 22 | 4-18 | 262 |
32 | 114 | 88 | 165/170 | 125 | 95 | 76 | 24 | 4-23 | 280 |
40 | 114 | 88 | 165/170 | 125 | 95 | 76 | 24 | 4-23 | 280 |
50 | 124 | 102 | 175/180 | 135 | 105 | 88 | 26 | 4-23 | 362 |
65 | 143 | 122 | 200/205 | 160 | 130 | 110 | 28 | 8-23 | 400 |
80 | 165 | 138 | 210/215 | 170 | 140 | 121 | 30 | 8-23 | 603 |
100 | 194 | 162 | 250 | 200 | 168 | 150 | 32 | 8-25 | 616 |
125 | 213 | 188 | 295 | 240 | 202 | 176 | 36 | 8-30 | 643 |
150 | 229 | 218 | 340/345 | 280 | 240 | 204 | 38 | 8 -34 | 685 |
200 | 243 | 285 | 405 | 345 | 300 | 260 | 44 | 12 -34 | 747 |
250 | 297 | 345 | 470 | 400 | 352 | 313 | 48 | 12 -41 | 933 |
300 | 338 | 410 | 530 | 460 | 412 | 364 | 54 | 16 -41 | 980 |
六、安装使用注意事项
1、气动V型球阀时,应使介质的流向为开方向。
2、V型球阀旁应设有旁通管路,以便在不影响生产的情况下对阀门进行检修和更换。
3、开、气关方式调整时,只需将执行机构拆下,然后将阀芯连同阀杆位置旋转900,再将执行机构装上,即能实现作用方式的转换。
七、订货需知
1.产品型号与名称
2.公称通径DN(mm)
3.公称压力
4.流量特性
5.阀体材质
6.额定流量系数
7.介质种类和温度范围
8.阀前后压力
9.气源压力及控制方式
10.其它特殊要求
11.建议用户安装空气过滤器和减压阀