自力式微压调节阀用途与特点
自力式微压调节阀(泄氮阀)是 一种无需外加能源,利用被调介质本身压力变化而实现自动调节,具有
动作灵敏,控制精度高,节约能源等特点.
本系列微压阀公称压力为0.1MPa,从30mmH2O至0.1MPa均可分段调节,广泛适用于各种微压气体的减
压或泄压稳压的自动控制.ZZV-C型压差调节型常用于工业燃烧炉系统控制两种物料混合(如煤气/空气)的
配比,达到理想的燃烧状态。
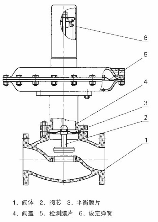
阀本体部分
l结构大类:自力式
l结构类型:单座平衡型双座平衡型
l阀芯型式:压力平衡型
l公称压力:0.1MPa
l阀门口径:DN20~300(3/4~12″)
l适用温度:-20~+80℃ 0~+200℃
l泄漏标准:Ⅳ、V、Ⅵ级
l连接方式:法兰、螺纹、焊接
主要零件常用材料
阀体、阀盖:ZG230~450/ZG1Cr18Ni9、 WCB、CF8、CF8M、CF3M
阀芯、阀座:1Cr18Ni9Ti、304、316、316L以上+PTFE
垫 片:不锈钢+柔性石墨
膜 盖:A3、1Cr18Ni9Ti
波纹膜片:丁腈、乙丙、氟、耐油橡胶
弹 簧:60Si2Mn
阀 杆:1Cr18Ni9Ti、304、316、2Cr13
导 压管:铜、不锈钢
特殊要求
特殊检验;真空条件下使用;
完全去油、去水管理;特殊介质(如氧气);
禁铜处理;使用不锈钢连接件;
特殊接口、配管;指定图层颜色;
工作原理
设定点压力通过导压管传递到执行机构,使执行机构动作并与弹簧建立一个动态平衡,当设定点压力发生了改变时,平衡被破坏,弹簧产生一个力使阀芯移动,从而使设定点压力重新回到设定值。
控制方式
微压型:应用于微压场合控制设定点的压力恒定,设定点最小压力可达30mmH2O。
压力型:控制两点差压恒定的调节阀,常用于控制两种物料配比或两点保持一个恒定的差压。
特点
l自力式微压调节阀无需外加能源,能在无电无气的场合工作,记方便又节约了能源;
l执行机构配用超薄膜片外加敏感弹簧设计,整机具有极高的灵敏度,设定压力可达30mmH2O;
l膜片式压力补偿设计,完全消除压力波动对调节精度的影响,使设定点压力更加稳定;
l整机采用无填料设计,阻力小;
l压力分段范围细且相互交错,选用方便;
l压力设定方便,运行时可连续无干扰地进行设定,免维护使用;
l配专用取压管及接头,安装更加简捷,可靠。
主要技术参数及指标
| 公称通径 DN(mm) | 20 | 25 | 32 | 40 | 50 | 65 | 80 | 100 | 125 | 150 | 200 |
| 额定流量系数Kv | 7 | 11 | 20 | 30 | 48 | 75 | 120 | 190 | 300 | 480 | 760 |
| 额定行程mm | 8 | 10 | 14 | 20 | 25 | 40 | 50 |
| 公称压力PN(Mpa) | 0.1 |
| 法兰规格 | 1.6MPa |
| 设定点压力调节范围(Kpa) | 0.3~0.8、0.5~5.5、5~10、9~14、13~19、18~24、22~28、26~33、 31~38、36~44、42~51、49~58、56~66、64~78、76~90、88~100 |
| 调节精度(%) | ±5~10 |
| 温度设定范围(℃) | -20~+80 |
| 泄漏量等级 | Ⅳ级(10-4×阀额定容量)、Ⅵ级(微气泡级)① |
| 重量(KG) | 12 | 13 | 14 | 16 | 19 | 28 | 45 | 78 | 130 | 200 | 265 |
| | | | | | | | | | | | | | | | | | | | | | |
注: eq \o\ac(○,1)1 气泡数量详见GB/T4213-92
压力调节范围确定
l设定压力调节范围分段详见规格与技术参数表,应尽量将常用压力设定值选取在范围的中间值附近。
l自力式调节阀本身是一个调节系统,阀本身又有一定的压降要求,对阀后压力调节型(B型),为保证阀后压力设定值的精度,其阀前压力必须在一定范围内,即≥1.2倍设定压力。
流量特性
单位:%

快开特性曲线
| L/Lmax | Q/Qmax | L/Lmax | Q/Qmax |
| 0 | 2 | 60 | 83.1 |
| 10 | 19.6 | 70 | 90.5 |
| 20 | 37.5 | 80 | 95.6 |
| 30 | 51.4 | 90 | 98.5 |
| 40 | 63.9 | 100 | 100 |
| 50 | 74.6 | | |
相对行程下的相对流量数值R30
作用方式
压闭型(B型)
控制阀后压力的调压阀,其初始位置的阀芯在开启位置,当设定点压力升高,阀开度逐渐减小,直至阀后压力稳定在要求的给定值。
压开型(K型)
控制阀前压力的调压力阀,其初始位置的阀芯在关闭位置,当设定点压力逐渐升高,阀逐渐打开,直到阀前压力稳定要求的给定值。
差压型(C型)
控制两点压差恒定的调节阀,常用于控制两种物料配比或两点保持一个恒定的压差。
应用举例
A、 系统循环热风减压控制(B型)
B、 氮封泄压调节(K型)
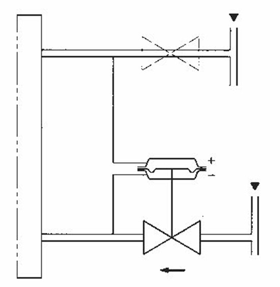
c 、两种气体流量的配比调节控制(C型)

A、系统循环热风减压控制

泄氮阀直接安装在罐顶,无需加装
导压部件,使用方便、可靠。
B、氮封泄压调节
C、两种气体流量的配比调节控制
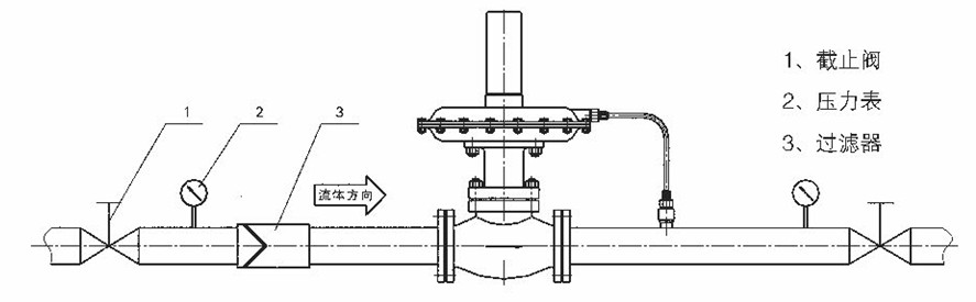
典型安装方式说明
安装示意图
A、微压型(ZZV-B型)

B、微压型(ZZV-K型)

C、差压型(ZZV-C型)

取压方式说明

安装注意事项
?自力式微压调节阀利用介质自身的压力操作执行机构,在执行机构内充满介质,故合理的安装方式将提高设定点的调节精度和增加阀门的使用寿命。
?安装时取压点的位置应离调节阀由适当距离,应大于6~10倍管道直径,最小值详见表2。
?建议安装旁路以供定期检修。
连接尺寸及标准
连接方式:法兰、螺纹、焊接(须用户指定)
法兰标准:GB/T9113.1
法兰规格:PN16钢制法兰
密封面型式:突面(RF)
法兰面端距:GB12221-89
执行机构接口:内螺纹M16×1.5、Rc1/4
*连接方式、阀体法兰及法兰端面距可按用户指定的标准制造。
如:ANSI、HG、JIS等。
外形尺寸及重量

表2
| 公称通径DN | 20 | 25 | 32 | 40 | 50 | 65 | 80 | 100 | 125 | 150 | 200 |
| L | 150 | 160 | 180 | 200 | 230 | 290 | 310 | 350 | 410 | 450 | 550 |
| A | Φ280、Φ308、Φ394、Φ498 |
| H1 | | 120 | 120 | 140 | 145 | 190 | 210 | 220 | 270 | 280 | 320 |
| H2 | 380 | 380 | 380 | 450 | 450 | 500 | 500 | 500 | 800 | 850 | 950 |
| H3 | 390 | 390 | 390 | 460 | 465 | 515 | 520 | 550 | 830 | 880 | 980 |
| L1 | 233 | 233 | 332 | 332 | 373 | 572 | 552 | 673 | 980 | 900 | 1200 |
| P≥ | 135 | 170 | 220 | 220 | 235 | 245 | 325 | 425 | 550 | 660 | 900 |
| 重量(KG) | 12 | 13 | 14 | 16 | 19 | 28 | 45 | 78 | 130 | 200 | 265 |
| 导压管螺纹接头 | M16×1.5 |
维护与调试
1、 维护:
(1)清洗阀门:对清洗一般介质,只要用水洗净就可以。但对清洗有害健康的介质,首先要了解其性质,在选用相应的清洗办法。
(2)阀门的拆卸:将外露表面生锈的零件先除锈,但在除锈前,要保护好阀座、阀芯、阀杆与推杆等精密零件的加工表面。拆装阀座时应使用专用工具。
(3)阀芯、阀座:二密封面有较小的锈斑与磨损,可用机械加工的方法进行修理,如损坏严重必须换新。但不管修理或更换后的硬密封面,都必须进行研磨。
(4)阀杆:表面损坏,必须换新。
(5)压缩弹簧:如有裂纹等影响强度的缺陷,必须换新。
(6)易损零件:填料、密封垫片与O型圈,每次检修时,全部换新。膜片必须检查是否有预示将来可能发生裂纹、老化与腐蚀等痕迹,根据检验结果,决定是否更换,但膜片使用期一般最多2~3年。
(7)阀门组装要注意对中,螺栓要在对角线上拧紧,滑动部分要加润滑油。组装后应按产品出厂测试项目与方法调试,并在这期间,可更准确地调整填料压紧力与阀芯关闭位置。
2、 调试
所需要压力值是通过对指挥器顶部的调节螺母的操作而得到调整,打开顶部的防尘盖,用扳手调整调节螺母。顺时针方向旋转使压力增大,逆时针旋转则压力减小。安装在压力调节阀后的压力表,可使工作人员借以观察调整后的压力给定值。
订货须知
订货时请注明下列内容
1)阀门型号
2)通径×阀座尺寸或Kv值
3)阀体压力及连接形式
4)阀体和阀内组件的材料
5)正/反作用(压闭式或压开式)
6)特殊要求(禁水处理,禁铜等)
7)介质名称
8)介质压力,阀前压力和阀后压力
9)正常流量及最大流量、最小流量
10)介质温度和比重